Вентиляция газовой котельной требует особенного внимания.
Вентиляция в котельной с газовым котлом — это отдельная история, ведь всегда где газ, там повышенная пожароопасность. Самый хороший и безопасный вариант — это турбированный котёл с двухконтурным коаксиальным выводом. В таком дымоходе по внешнему радиусу забирается воздух с улицы, а по внутреннему происходит выхлоп из котла. Кроме всего прочего, такой вывод повышает КПД котла, ведь при заборе воздуха, он уже прогревается благодаря тому, что по внутреннему радиусу происходит выброс горячего воздухе.
Вентиляционные системы — очень важная часть любой котельной, ведь прежде всего обеспечивает безопасность проживания в доме людей, осуществляя выброс вредных продуктов горения из дома наружу. Вентиляция в котельной — это также обеспечение котла для нормальной его работоспособности.
Все мы со школьной скамьи знаем, что горение является частным случаем окислительной реакции. При этом, чем интенсивнее реакция, тем больше кислорода расходуется. Для поддержания открытого пламени требуется атмосферный кислород. И газовые котлы не являются исключением. Для нормальной работы отопительной установки, работающей на сжигании газа или жидкого топлива, требуется постоянный приток свежего воздуха в определенном объеме и утилизация продуктов горения, то есть должна присутствовать вытяжная и приточная вентиляция котельной.
Вентиляция автономных источников теплоснабжения регламентируется государственными нормативными документами СП-41-104-2000, СНиП 2.04.05 и СНиП II-35. Однако в частном строительстве нормы часто не соблюдаются. Недостаточная приточная вентиляции приводит к неполному сжиганию газа (окислительный процесс теряет интенсивность), вследствие чего падает коэффициент полезного действия отопительной установки. Отсутствие или плохая работа вытяжной вентиляционной системы приводит к загрязнению воздуха внутри помещения продуктами горения (окислами) и остатками газа. Как следствие, – плохое самочувствие, угроза здоровью и даже жизни, копоть на потолке и стенах.
Работающий газовый котел, словно мощный насос, вытягивает из помещения воздух, пропуская его через зону горения. Если в доме стоят старые окна и двери, то, как правило, незаделаных щелей обычно достаточно, чтобы свежий воздух поступал за счет естественной инфильтрации. Но в эпоху современных строительных материалов, герметичных стеклопакетов и дверей с автоматическим притвором помещение котельной изолируется от внешней среды. В результате чего производительность котла падает по причине недостатка атмосферного кислорода для нормального протекания горения, а кроме того в помещении создается разрежение, которое может спровоцировать опрокидывание тяги. В этом случае все продукты горения пойдут прямиком в помещение.
Оптимальным решением для нормальной работы котельной является устройство приточной и вытяжной вентиляции .
Виды вентиляции
Основных видов вентиляции всего два: принудительная и естественная, а в ряде случаев используется комбинированная, которую иногда выделяют в отдельную категорию.
Как видно из названий, в первой разновидности вентиляции используется принудительная подача воздуха, для чего применяются воздушные насосы или вентиляторы. Во втором случае приток воздуха происходит за счет разности его температуры и давления – в помещении и вне его. Чтобы обеспечить воздухообмен, достаточно правильно расположить вентиляционные отверстия. Также часть воздуха может проникать в помещение через естественные отверстия – например, щели под дверями.
Если есть такая возможность, то выгоднее всего использовать комбинированная систему – пока с воздухообменом справляется естественная вентиляция, принудительная находится в режиме ожидания.
Естественная вентиляция
Если обеспечивается троекратная смена объем воздуха за час, то в стандартном шестиметровом (по высоте) помещении можно обойтись организацией естественного воздухообмена.
При понижении потолка на каждый метр придется увеличить воздухооборот на 25% минимум. Плюс, следует в любом случае проектировать воздухообмен с некоторым запасом.

Схема работы вентиляционной системы в котельной частного дома Источник pew.ledikycora.ru.net
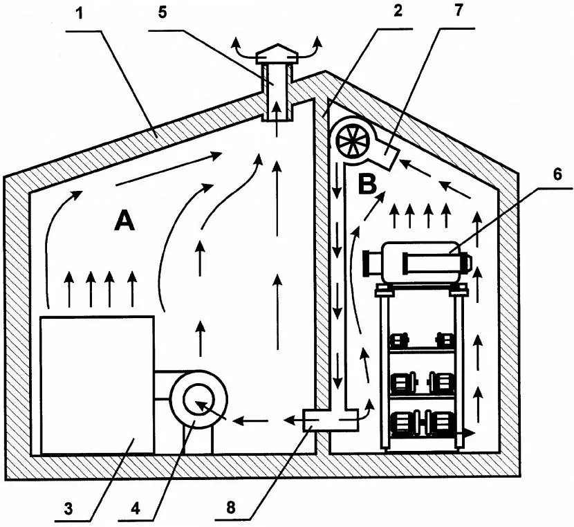
Схема предельно проста – напротив котла, в двери или стене, организуется входное отверстие вентиляции (диаметр зависит от мощности котла), которое располагается не выше его рабочей области. Второе, вытяжное отверстие организуется над котлом, обычно на него крепится воздуховод с обратным клапаном (чтобы вытяжка работала только в одну сторону) и «зонтиком» на наружной стороне (чтобы трубу не заливало).
Расстояние между «входом» и «выходом» воздуха в помещении должно быть максимально возможным для обеспечения лучшей тяги.
Недостатки естественной вентиляции:
- Зависимость от погодных условий. Необходимо защищать воздуховоды от внешних воздействий среды.
- Сложность точного расчета кондиционирования. В зависимости от направления и силы ветра в помещение может поступать различный объем воздуха.
- Очень сложно спроектировать одну систему вентиляции для нескольких комнат – чтобы через все помещения проходила одна труба. Преимущественно вывод из каждой комнаты делается сразу на улицу.
Принудительная вентиляция
Принудительная подача воздуха осуществляется за счет так называемых «механических устройств», то есть вентиляторов. Такой тип обустройства воздухообмена удобен сразу двумя особенностями:
- Появляется возможность установки климатического оборудования, с калориферами и фильтрами, которое будет очищать и нагревать поступающий воздух;
- Также появляется возможность включения системы только в необходимые моменты, что позволит экономить электроэнергию, включая ее, например, только при работе котла.
Минусы принудительной вентиляции следующие:
Стоимость – прежде всего, такая система обойдется дороже, чем естественная вентиляция;
В ряде случаев, шумность – например, при установке климатического оборудования с кондиционированием;
Выбор оборудования без должной подготовки может быть чреват нарушением безопасности: в частности, для газовых котельных важно иметь пожароустойчивое оборудование.

Отопительная система это достаточно сложный комплекс оборудования, поэтому его подбором и наладкой должны заниматься профессионалы Источник stroimdom.com.ua
Требования
В холода задача владельцев частных домов — поддержание комфортного микроклимата в комнатах. Для этого дом стараются утеплить, прогреть. Чтобы не впустить внутрь слишком много холодного воздуха, помещения реже проветриваются (посмотреть пошаговую инструкцию по обустройству вентиляции в частном доме можно здесь).
По правилам, котельная должна тщательно проветриваться, так как нарушения в работе приводят к возникновению аварийной обстановки. Если отработанный воздух не заменяется свежим, сгораемые вещества из отопительного агрегата попадают на трубы, из-за чего снижается эффективность работы газового котла и падает температура внутри дома.
При некачественной работе системы проветривания в замкнутом пространстве скапливаются избытки угарного газа, что пагубно отражается на здоровье людей, находящихся в близлежащих помещениях.
Качественная система проветривания обеспечивает:

- Продление периода эксплуатации котельного оборудования.
- Хороший микроклимат внутри дома.
- Регулярный приток свежего, обогащённого кислородом воздуха.
- Защиту от плесени, грибка.
- Защиту от появления продуктов горения в воздухе внутри дома.
- Работу котла с высокой отдачей.
Требования и нормы к вентиляции газовой котельной в частном доме прописаны в системе нормативных документов в строительстве (СНиП). Выполнение требований СНиП хозяевами частных домов контролируется сотрудниками газовой службы. Требования:
- Система вентиляции должна за час не менее трёх раз обновить воздух.
- Поток свежего воздуха поступает суммарно в таком же количестве, как в вытяжку вместе с учётом потребности горения газа.
- Вытяжная труба должна находиться в верхней части потолка котельной. Её диаметр — около 1,3 метра.
Внимание
Один из нормативных документов, на который ориентируются газовые службы — СниП. Газоснабжение 2.04.08–87.
Принудительный тип вентиляции в котельной

Устройство вентиляции в подвальном помещении котельной С помощью вентилятора создается искусственная тяга. В практике чаще встречаются канальные приборы, выбирая их нужно учитывать сечение вентиляционных каналов, длину, количество изгибов. Лучше установить вентилятор и на приток и на отток воздушных масс. Причем рекомендовано покупать прибор с запасом мощности до 30%.
С помощью автоматики можно запустить вентилятор одновременно с включением газового оборудования. Эффективность вентиляции будет лучше. В практике автоматику устанавливают с кондиционером. Удобно, что при его работе воздух прогревается.
Обязательно ли нужна вентиляция котельной в частном доме, и почему?
Да, в котельных частных домов обязательно нужно организовать вентиляцию, которая соответствует стандартам СНиП.
В этом помещении вентсистема будет выполнять такие функции:
- Обеспечивать приток кислорода для нормального горения. Если кислорода не хватает — любое топливо будет сгорать не полностью. Как результат — выделяется меньше тепла, тратится больше топлива для поддержания нужной температуры в жилых помещениях, ускоряется износ котла, внутри дымохода накапливается гарь.
- Удалять угарный газ. Не все продукты сгорания могут удаляться через дымоход — в небольшом количестве они могут проникать в помещение. Если вентиляция не обеспечивает достаточный воздухообмен — концентрация угарного газа может повышаться до критических показателей, и проникать в другие комнаты.
- Удалять газ при возможном пропуске. Со временем газовая линия до котла может утратить герметичность, и газ может накапливаться в помещении. Если этого не заметить — возможен взрыв или отравление.
То есть правильно обустроенная вентиляция топочной дает такой эффект:
- уменьшается вероятность пожара или взрыва;
- уменьшается вероятность отравления природным или угарным газом;
- котел работает с полной отдачей, без превышения нагрузок (а значит может прослужить дольше без ремонта);
- температура в доме поддерживается без избыточной нагрузки на котел и без превышения расхода топлива.
Главные правила и требования к вентиляции котельной согласно СНиП (+видео)
Нужна ли вентсистема — выяснили. Теперь про главные правила и требования ее обустройства.
Упрощенная схема вентиляции котельной
Котельная может обустраиваться в таких помещениях:
- Отдельно стоящее строение или блочный модуль.
- Пристройка.
- Помещение внутри дома.
- Кухня (допустимо, если мощность котла не превышает 30 кВт).
- Чердак.
При строительстве частных домов топочные обычно обустраивают в отдельной комнате на первом этаже, по соседству с гаражом или другим помещением.
Требования и нормы обустройства котельных в частных домах регламентированы в СНиП 42-02-2002.
Из основных требований:
- Требования к помещению, если котел ставится в отдельной комнате: объем — от 7.5 м³, площадь — от 6 м², высота потолков — от 2.5 м.
- Котлы мощностью 30+ кВт — должны устанавливаться только в отдельном помещении. Котлы с меньшей мощностью — можно ставить на кухне.
- При установке котла на кухне ее площадь должна быть более 15 м²
- Помещение котельной должно иметь отдельную дверь на улицу.
- Площадь сечения отверстий для притока: с улицы — от 8 см² на каждый 1 кВт мощности котла, из соседнего помещения (к примеру — из кухни, через стену) — от 30 см² на каждый 1 кВт мощности.
Расчет воздухообмена с формулой и примером (+видео с более подробными объяснениями)
Выбирать сечения вентиляционных каналов и мощность вытяжного вентилятора нужно исходя из нужного воздухообмена.
Чтобы рассчитать нужное количество воздуха, нужно знать:
Кратность воздухообмена. Согласно СНиП — для котельных составляет 3 (то есть за 1 час в помещении котельной воздух должен полностью обновиться 3 раза). Объем помещения. Для измерения нужно высоту умножить на ширину и умножить на длину (все величины берутся в метрах). Сколько воздуха нужно котлу для горения
Для газовых котлов (не важно — с открытой или закрытой камерой сгорания) в частных домах большая точность не обязательна, поэтому можно брать для расчетов 10 «кубов» воздуха на 1 «куб» газа. Для дизтоплива — 12
Приведем пример — выполним расчет вентсистемы для котельной в отдельном помещении, пристроенном к дому:
- Вычисляем объем помещения. Для примера возьмем размеры 2.5 х 3.5 х 2.5 = 21.875 м³. Для более точного расчета можно отнять от «общего» объема объем (размер) самого котла.
- Смотрим в характеристиках своего котла, сколько газа максимум он сможет сжечь за 1 час. К примеру, у нас модель Viessmann Vitodens 100 ( 35 кВт), с максимальным расходом 3.5 «кубов». Значит, для нормального горения при максимальной нагрузке котлу нужно 3.5 х 10 = 35 м³/ч воздуха. На эту характеристику не распространяется норма про трехкратность, поэтому ее просто добавляем к результату.
Теперь выполняем расчет, используя все показатели:
21.875 х 3 (трехкратный воздухообмен) + 35 = 100 м³/ч
На всякий случай нужно сделать запас — в среднем до +20-30% от получившейся величины:
100 + 30% = 130 м³/ч (с округлением в большую сторону) должна подавать и удалять вентиляционная система в котельной при максимальной нагрузке на котел. Для примера мы взяли максимальный запас (30%), по факту можно ограничиться и 15-20%.
Автоматизация вентиляции котельной
Вентиляция котельной может быть автоматизирована для повышения безопасности людей, находящихся в котельной.
За это:
- Выберите вентилятор с дистанционным или настенным регулированием скорости, запасом мощности (чем больше запас, тем лучше) и несколькими скоростями. Дистанционное управление должно быть установлено на входе в котельную. Если в помещении увеличивается концентрация окиси углерода или природного газа, то максимальная скорость извлечения может быть активирована дистанционно. Вентиляторы с дистанционным управлением стоят в среднем на 10-20% дороже, чем “обычные”.
- В котельной установить газоанализатор – устройство, которое измеряет концентрацию газа и выдает сигнал о его превышении. Средняя стоимость простой домашней модели составляет 3000-6000 рублей.
- Выберите котлы с функциями безопасности: датчик контроля пламени и датчик всасывания. Они автоматически отключают котел, если горелки гаснут или если тяга в дымовой трубе слишком низкая. В средней и высокой ценовой категории эти датчики устанавливаются практически во всех моделях.
Для безопасности лучше следовать всем правилам.
Как подобрать материал для вытяжки
Для решения таких задач применяется кирпич, нержавеющая, оцинкованная сталь или керамический материал. Проанализируем более детально каждую из них.
Коаксиальная вентиляция
Эта вытяжка газового котла в частном доме состоит из короткой внешней и длинной внутренней трубы. Помимо этого к ней относятся всякие принадлежности: хомуты, колена, прокладки, а также – приемник для конденсата. Еще такую конструкцию называют «труба в трубе» и используется она в газовых отопительных приборах с закрытой камерой горения.

Устройство и принцип работы одинаковый для всех котлов такого типа:
- Труба, расположенная внутри, подсоединятся с одной стороны к патрубку котла, а ее другая сторона выводится на улицу и по ней выходят продукты сгорания. Она сделана из нержавейки и выдерживает перепады высоких температур.
- Труба, расположенная снаружи, присоединяется одним концом к входному отверстию, а другой конец выводится за пределы помещения. В этом канале происходит поступление свежего воздуха.
- Во время эксплуатации агрегата, выработанные продукты горения за счет тяги по внутреннему каналу отводятся наружу, и в то же время к камере сгорания поступает свежий воздух по внешнему каналу.
Данное коаксиальное устройство обладает следующими достоинствами:
- Дымоход безопасен. Это возможно потому, что выходящие горячие продукты горения тут же охлаждаются холодным воздухом, поступающим извне.
- Повышенная производительность. Свежий воздух при подаче нагревается и увеличивает КПД агрегата.
- Экологичность системы.
- Установка на кухне. Такой настенный отопительный прибор не портит общий интерьер в помещении.
Еще одной особенностью монтажа таких котлов с коаксиальной циркуляцией воздуха является то, что в доме для частного проживания монтировать дымоход можно как вертикально, так и горизонтально.
Кирпичная кладка
Сейчас кирпич все реже применяется для вентиляционных колодцев.
Это вызвано двумя основными причинами:
Во-первых, его недолговечностью, через 7-10 лет кирпич начинает крошиться, и кладка теряет герметичность, а значит, она теряет свое предназначение. Разрушается он из-за того, что в канале температура меняется и в результате образуется конденсат, который зимой замерзает. Более приемлемо делать дымоходы из этого материала, когда стенки постоянно испытывают контакт с горячими отходами.
Во-вторых, кирпичная кладка – это трудоемкий процесс, у такого вентиляционного канала непростое устройство и неоправданные расходы.
В связи с этим, более удачным вариантом будет являться кирпичная шахта с заложенной внутри оцинкованной трубой для вентиляции. Собирается она по частям из 2-х метровых контуров, а толщина стенок подбирается с учетом температуры отводящих газов.

Стальная вытяжка
Отработанный газ при работе газового котла имеет температуру около 430 градусов, а при эксплуатации твердотопливных котлов еще больше. Поэтому трубы для вытяжки газового котла в частном доме изготавливаются из нержавеющей стали с толщиной стенок 0,7-1 мм. Данные изделия вполне стабильны к действию конденсата на поверхности стенок.
Надо отметить, что период эксплуатации этих вентиляционных труб ощутимо меньше, чем кирпичных и керамических. В то же время стандартные стальные вытяжки проще при замене, так как они легче и не нуждаются в специализированных основаниях для придания прочности.
Такие каналы изготавливаются в разных вариантах:
- Размещение в специально выложенном колодце из кирпича;
- Из заводских контуров. При этом всякий контур представляет собой сэндвич-трубу с двумя стенками. Здесь одна труба расположена в другой, а зазор заполнен теплоизолирующим материалом.
Использование таких вытяжек упрощает установку, при этом они монтируются как внутри помещения, так и снаружи.
Плюсы и минусы двух систем
Естественная вентиляция
Для оборудования такой вытяжки самостоятельно не нужно особых навыков, при этом она обладает целым рядом достоинств:
- Отсутствие механизмов делает такой воздухообмен надежным и долговечным.
- Нет необходимости тратиться на приобретение приборов.
- Простота в работе.
- Бесшумность в момент эксплуатации.
В свое время такая вытяжка вполне отвечала своим требованиям, но с появлением нового газового оборудования, взгляд на это поменялся.
При этом обнаружились следующие существенные недостатки:
- Зависимость оптимальной циркуляции воздуха от времени года и климатических условий.
- Невозможность регулирования воздушного потока.
- Проникновение посторонних частиц через систему.
Рекомендуем ознакомиться: Вентиляция коровника
А также при понижении поступления воздуха появляется вероятность повышения влажности в помещении.

Искусственная вентиляция
Искусственная вытяжка является лучшим вариантом при устройстве газовых котельных, так как:
Есть возможность самостоятельной регулировки подачи воздуха
Важность данной вентиляции в закрытых помещениях. Приятный микроклимат в комнате. Возможность регулирования воздухообмена с помощью пульта
Независимость от погодных условий
Возможность регулирования воздухообмена с помощью пульта. Независимость от погодных условий.
Если в доме котел с коаксиальным выводом, то встроенный вентилятор в нем автоматически создает благоприятную атмосферу для проживания человека.
Не пропустите: Как проверить теплый пол мультиметром: варианты поломки, диагностика
Единственным недостатком такой системы можно признать довольно высокую стоимость этой установки.

Котельная в частном доме в отдельном помещении (встроенном или пристроенном)
Отдельные помещения-бойлерные для установки газовых котлов мощностью до 200 кВт должны быть отделены от остальных помещений негорючей стеной с пределом огнестойкости не менее 0,75 часа. Таким требованиям отвечает кирпич, шлакоблок, бетон (легкий и тяжелый). Требования к отдельным топочным во встроенном или пристроенном помещении следующие:
Минимальный объем — 15 кубометров. Высота потолков : при мощности от 30 кВт — 2,5 м; до 30 кВт — от 2,2 м. Должно быть окно с фрамугой или форточкой, площадь стекла не меньше 0,03 квадрата на каждый кубометр объема. Вентиляция должна обеспечивать не менее чем трехкратный обмен воздуха за один час.
В случае если котельная организована в подвальном или цокольном этаже, минимальный размер котельной будет больше: к обязательным 15 кубам добавляется 0,2 м2 на каждый киловатт мощности, которая идет на отопление. Также добавляется требование к стенам и перекрытиям, смежным с другими помещениями: они должны быть паро- газо- непроницаемыми. И еще одна особенность: топочная в подвальном или цокольном этаже при установке оборудования мощностью от 150 кВт до 350 кВт должна иметь отдельный выход на улицу. Допускается выход в коридор, ведущий на улицу.

Нормируется не площадь котельной, а ее объем, задается также минимальная высота потолков
Вообще, размер котельной в частном доме целесообразно выбирать исходя из удобства обслуживания, что, обычно, намного превосходит нормативы.
Особые требования к пристроенным котельным
Их не очень много. К пунктам, изложенным выше добавляются три новых требования:
Пристройка должна располагаться на сплошном участке стены, до ближайших окон или дверей расстояние должно быть не менее 1 метра. Выполнена она должна быть из негорючего материала с пределом огнестойкости не менее 0,75 часа (бетон, кирпич, шлакоблок). Стены пристройки не должны быть связаны со стенами основного здания. Это значит, что фундамент надо делать отдельным, несвязным и строить не три стены, а все четыре. Пристройка делается из негорючего строительного материала
Что надо иметь в виду. Если вы собираетесь устроить котельную в частном доме, а помещения подходящего объема нет или высота потолков немного ниже требований, вам могут пойти на встречу и потребовать взамен увечить площадь остекления. Если же вы планируете строительство дома, то надо выдерживать все требования, иначе проект вам никогда не согласуют. Также жестко подходят и к строительству пристроенных котельных: все должно соответствовать нормам и никак иначе.
Виды вентиляционных систем
Циркуляция воздушных масс в помещении выполняется естественной или принудительной. Первую применяют для котлоагрегатов тепловой мощностью до 30 кВт, если подобная система предусмотрена для данной модификации заводом-изготовителем.
Вторая схема устанавливается в более мощных котлах с развитыми поверхностями нагрева, несколькими контурами циркуляции и большой протяженностью дымовентиляционных каналов. Такая система теплоснабжения имеет большие аэродинамические сопротивления по пути движения газовоздушной смеси, которую потребуется преодолеть дымовым газам.
В связи с чем их движение может быть обеспечено только принудительно с использованием дутьевого вентилятора или дымососа.
Естественная
В наименьшей степени эффективная система и при этом более простая, устанавливается в одноэтажных домах небольшой площади с маломощными котлами. Зачастую ее используют для организации воздухообмена, протекающего в подвальных, чердачных, подсобных помещениях и гаражах.
Естественная вытяжка в котельной
Забор воздушных масс в помещении топочной выполняется через форточки, оконные проемы, вентиляционные решётки в дверных полотнах, а вытяжная вентиляция — через воздуховоды, размещенные вверху стен либо в потолочных перекрытиях с выводом над крышей.
К примеру, размещают котлоагрегат непосредственно против входа, а вытяжное отверстие — над котлом. Воздушные массы передвигаются снизу, проходят через всю топочную и поступают вверх к вытяжке. Окно при этом может находиться на любой стене.
Выходное отверстие воздуховодов не рекомендуют размещать около котла. В зимнее время резкое падение температур наружного воздуха может отразиться на работе котла, в связи, с чем отверстие выполняют на расстоянии не меньше 1-1.5 м от зоны его расположения.
Принудительная
Турбированные отопительные устройства или котлы с принудительной циркуляцией устанавливаются только по рекомендациям завода-изготовителя оборудования. Они выпускаются с закрытыми топочными камерами, а воздух подается дутьевыми центробежными вентиляторами.
Для повышения эффективности котельного оборудования и его ремонта, в современных котлах устанавливают комбинированная система воздухоподачи с применением воздушных фильтров, калорифера, для предварительного подогрева воздуха и вентиляторов.
Для газовых котлов большей мощности дополнительно устанавливаются дымососы, которые создают разрежение в топке, тем самым заставляя перемещаться дымовые газы по газоходам.
Инновационные бытовые котлоагрегаты с закрытой топкой, использующие газообразное топливо, комплектуются автоматикой с погодозависимой системой управления и безопасности.
Она устанавливает режим в зависимости от температуры наружного воздуха, в связи, с чем регулирует подачу объема газового топлива. Данная функция должна согласовываться с количеством воздуха поступающего в котел, чтобы обеспечить полноту сгорания газа.
Для согласованности теплотехнических и аэродинамических процессов служат первичные датчики по температуре греющей воды и давлению тяги в топочном пространстве.
Таким образом, исполнительные механизмы в режиме открытия/закрытия топлива будет работать пропорционально с расходом воздуха, поступающего на горелочное устройство.
3
Если в котельной установлено мощное отопительное оборудование, следует монтировать вентиляционную систему на механической тяге. Она функционирует, благодаря специальным канальным вентиляторам. Их технические характеристики подбираются с учетом диаметра имеющихся вентиляционных каналов.
При этом мощность таких вентиляторов всегда берут с запасом около 25–30 % при максимальной нагрузке на них. Заметим, что мощностные показатели вентиляционных устройств зависят еще от длины воздуховода и числа изгибов, имеющихся в нем. Желательно устанавливать вентиляторы в алюминиевых либо медных корпусах. Такие приборы обладают высокой стойкостью к возгоранию и плавлению.

Вытяжная труба с зонтиком
Оборудование для создания механической тяги достаточно дорогое. Но сэкономить на его монтаже можно. Достаточно смонтировать вентиляцию только на выдув либо только на приток.
Но подобная система будет не самой безопасной. Да и эффективность ее работы не очень высока. Поэтому специалисты советуют выполнять полную механизацию процессов воздухообмена в котельной.
Экономичность и качество работы вентиляции повышается и при установке автоматики. Сейчас созданы системы контроля, которые при запуске котельного оборудования сразу же включают вентиляторы, а отключают их, когда вытягивать угарный газ не нужно (при отключенном котле).




































