Популярные неисправности газовых котлов Vaillant
В процессе эксплуатации оборудования постоянно возникают ситуации, когда тот или иной узел оказывается под увеличенной нагрузкой и может выйти из строя.
Ситуации могут возникнуть самые разные, но большинство из них могут быть систематизированы и классифицированы как наиболее типичные. Производитель заботится о надежности работы своих агрегатов.
Конструкция каждой установки содержит набор специальных датчиков, которые мониторят состояние определенных деталей и оповещают пользователя при появлении сбоев режима или отказов того или иного элемента. Эти датчики составляют систему самодиагностики, которая подает сигналы на электронную плату управления.
Наличие такой системы значительно облегчает процесс локализации возникшей неисправности, позволяет обнаружить ее на ранней стадии. Код ошибки имеет приоритет перед другими системными сообщениями и выводится на дисплей в любой ситуации.
Это облегчает ремонт и обеспечивает сохранность дорогостоящей техники.

Другие неисправности котла
Если на дисплее высветилась ошибка F0 — проблема с датчиком температуры на подаче теплоносителя. Это может быть связано с поломкой самого датчика, повреждением его кабеля или штекера контакта на электронном блоке. F1 – то же самое, только на обратке.
F10 и 11 соответственно короткое замыкание температурных датчиков подачи и обратки. При срабатывании защиты от перегрева высвечивается F20. Это тоже может быть по причине несправного или неправильно подключенного датчика. Для устранения нужно проверить состояние датчика, кабеля, штекера.
F5 и 6 – повреждения наружного и внутреннего датчиков отходящих газов. Проблема может быть с самим датчиком, с кабелем, из-за неправильного подключения. F9 – отказ вентилятора, поломка реле тяги. Возможная причина – засор дымохода (). 15 и 16 – короткое замыкание внешнего датчика, связано, вероятно, с его поломкой. 13 – короткое замыкание на датчике горячего старта.
F22-24 указывают на недостаток теплоносителя в котле. Ошибка может появиться из-за неисправности датчика давления, при поломках или недостаточной мощности насоса, в случае неправильного подключения датчиков на подаче и обратке, при обрыве кабелей. В результате температура резко повышается, увеличивается вилка между подачей и обраткой.
27 – газовый клапан закрыт, но есть сигнал о наличии пламени. Это может быть связано с повреждением клапана или неисправностью контрольной автоматики. При перебоях в системе газораспределения горелка гаснет в процессе работы – ошибка 29. Она может также высветиться при неправильном заземлении.
33 – реле давления на подаче газа не замыкает контакт в течение получаса. Обычно при этом нет сигнала от реле, либо контакт не размыкается после того, как вентилятор выключен. 36 – отработанные газы поступают в котельную (). Это возможно при засоре приточного канала или дымохода. Котлы Vaillant оснащены двумя газовыми датчиками NTC, они замеряют температуру горения и тяги. Если вилка температур меньше необходимой, возможна 20-минутная остановка котла (S52) или блокировка (F36). После блокировки котел автоматически не стартует, нужно запускать вручную.
61 – нет сигнала на газовый клапан. Бывает при поломке самого клапана или из-за сбоев электроники. 62 – проблемы с отключением газового клапана. Негерметична газовая арматура, сбои электроники.
Ошибки 71 и 72 появляются при неправильных показаниях датчиков подачи и обратки (обычно из-за неисправности датчиков). 73 – заниженные показания датчика давления: возможны короткое замыкание, обрыв или неисправность датчика. 74 – завышенные показания (выше 4,5 бар), причины те же.
Ошибка F75 котла Vaillant – автоматика не фиксирует повышение давления более 50 мбар после пятикратного запуска насоса. Возможно, неисправен сам насос, датчик давления теплоносителя, расширительный бачок (), либо система завоздушена. Низкое давление в системе может быть также из-за недостатка теплоносителя.
Остальные неисправности котла Вайлант связаны с электроникой:
- 49 – низкое напряжение на шине eBUS. Причины – перегрузка шины, короткое замыкание;
- 63 – EEPROM, неисправен электронный блок;
- 64 – неисправна электроника, короткое замыкание датчика на подаче или обратке;
- 65 – перегрев или неисправность электроники;
- 67 – контроль пламени подает сигнал за пределами диапазона (0-5 вольт).
При возникновении проблем с давлением теплоносителя следует убедиться в корректности работы насоса и проверить состояние расширительного бачка (при низком давлении и резких скачках – накачать бачок).
При отказе/некорректной работе электронного оборудования проверяют состояние контактов, параметры электросети, работоспособность стабилизатора.
В случае тревожных сигналов о работе горелки или тяги рекомендуется сначала прочистить дымоход. Нужно также проверить и, при необходимости, почистить конденсатоотводчик: на внутренних стенках скапливается известковый налет.
Видео о самостоятельном обслуживании газового дымоходного котла Vaillant.
Коды ошибок в котлах Вайлант
Наиболее часто на табло возникают такие ошибки, как F22, 28, 29, 36, 75. Но на самом деле ошибок, которые высвечиваются на экране с помощью кодов, очень много. Большая часть кодов не проявится даже за весь долговременный период пользования, но есть несколько ошибок, которые могут возникнуть при неправильной эксплуатации. Сюда относятся такие ошибки:
- F0 или F1 – требуется проверка кабеля и датчика NTC, который контролирует температурный режим;
- F2 – сбой работы датчика или слом кабеля;
- F5 или F6 – неправильная работа датчика, который выводит продукты горения безопасным способом;
- F10 – короткое замыкание на линии;
- F13 – превышен температурный режим в 130 градусов, что привело к сбою в системе;
- F32 – плохая работа вентилятора.
Ошибок и кодов для них может быть много, но все можно найти в инструкции. В русскоязычной инструкции имеется список наиболее распространенных кодов. Менее распространенными, но все же встречающимися, являются ошибки:
- F11 – указывает на то, что произошло замыкание датчика температуры, установленного в обратной линии;
- F12 – данный вид ошибки появляется только если произошло замыкание датчика водонагревателя;
- F15 – замыкание произошло в наружном датчике отходящих газов;
- F20 – данный вид ошибки появляется, если был плохо подключен датчик перегрева или он находится в нерабочем состоянии. Ошибка указывает на срабатывание защиты от перегрева, который происходит в таких ситуациях;
- F23 – этот код появляется, если в агрегате недостаточно теплоносителя и из-за этого возникает большая разница между показаниями датчиков попадающей и обратной линии. Для устранения этой проблемы достаточно проверить правильность подключения датчиков, производительность наноса, а также его состояние, так как он может быть поврежден или заблокирован;
- F24 – недостаточное количество теплоносителя в самом котле. В такой ситуации температура резко увеличивается. Это может происходить из-за недостаточно давления в самой системе, низкой производительности насоса или его блокировке;
- F61 – нарушается подача сигнала управления к газовым клапанам. В такой ситуации нужно сразу же проверить клапаны или электронику, они могут быть неисправны.
При появлении этих и многих других ошибок на дисплее прибора нужно сразу же провести его диагностику и устранить все ошибки, чтобы предотвратить его выход из строя.
Осмотр и техническое обслуживание котла
Обслуживание газового котла рекомендуется проводить ежегодно. В основном обслуживание сводится к визуальному осмотру и профилактической очистке основных узлов: теплообменников, камеры сгорания, фильтров грубой очистки и состояния расширительного бака.
Первичный теплообменник чистят снаружи от сажи мягкой щеткой. Щетками с металлической щетиной пользоваться ни в коем случае нельзя, т.к. медные пластины обработаны специальным антикоррозийным покрытием и его повреждение приведет к серьезному сокращению срока службы. Из-за конструктивной особенности первичные теплообменники изнутри в большинстве случаев не поддаются промывке, срок его службы может серьезно уменьшится от применения антифризов или частой подпитки водопроводной водой повышенной жесткости.
Вторичный теплообменник (ГВС) ввиду постоянного прохождения через него воды больше подвержен образованию отложений и накипи, но при этом его можно успешно промывать с определенной периодичностью. Промывают теплообменники специальными установками (бустерами) с использованием спецсредств. Процесс заключается в длительном (иногда до нескольких часов) перекачивании химических средств, способствующих растворению и вымыванию накипи. Компания valiant рекомендует осуществлять промывку обычной уксусной кислотой.
Расширительный бак предназначается для компенсации теплового расширения системы отопления и также ежегодно подлежит обслуживанию. Оно заключается в измерении его давления. Замер необходимо делать на опорожненном котле и при необходимости накачать до значения статического давления системы (примерно 1-1.2 бара). Если же из контрольного штуцера выходит вода, это говорит о не герметичности мембраны бачка и необходимости его замены.
Рекомендуется устанавливать температуру подачи горячей воды таким образом, чтобы не разбавлять ее холодной водой, тем самым обеспечивая минимальный нагрев. Чем меньше температура горячей воды, тем будет ниже интенсивность образования накипи.
Фильтры грубой очистки представляют собой сеточки, поэтому их обслуживание сводится к извлечению и промывке под струей воды до нужного состояния.
Газовая горелка со временем может засоряться и покрываться налетом от продуктов сгорания, ее очистка, как правило, легко осуществляется с помощью мягкой щетки и пылесоса. Если есть сильные загрязнения, то она легко снимается.
Можно ли самостоятельно выполнять ремонт
Действующие правила запрещают самостоятельный ремонт газового оборудования. Этот момент надо учитывать, приступая к восстановительным мероприятиям. Однако, в этом вопросе немало неясностей — в конструкции котла есть и другие узлы, не имеющие прямого отношения к газовой аппаратуре.

Если выходит из строя вторичный теплообменник или вентилятор наддува, система подач газа никоим образом не будет затронута. Для решения подобных проблем необходимо вызывать техника из сервисного центра. Он имеет все необходимые допуски и разрешения, никаких вопросов у инспекторов газовой службы не возникнет.
Самостоятельное вмешательство в конструкцию котла расценивается как расторжение гарантийного договора по инициативе пользователя, и рассчитывать на бесплатный ремонт уже не придется. Таким вмешательством могут посчитать даже замену вилки на проводе питания, поэтому, рекомендуется в любых ситуациях сразу вызывать техника из сервисной службы.

При самостоятельном ремонте — котел снимут с гарантии
Если возможности связаться со специалистами не имеется, приходится действовать на свой страх и риск. При покупке котла надо сразу выяснить, где находится ближайший сервисный центр и есть ли возможность оперативного решения возможных проблем.
Если гарантийная мастерская расположена слишком далеко и выезд мастера на дом не производится, заключать гарантийный договор не имеет смысла.
Нюансы монтажа и эксплуатации
Установку котельного оборудования производят специалисты газовой организации согласно инструкции к конкретной модели.
Особенности монтажа котлов Vaiilant:
- компоненты присоединения (держатель, крепеж) входят в комплект поставки;
- выдерживают минимальные монтажные зазоры сбоку, сверху и снизу;
- соблюдение дополнительных расстояний до горючих материалов не требуется;
- места сверления определяются по монтажному шаблону;
- вместо смазки используется только вода или жидкое мыло, чтобы не испортить уплотнители;
- по окончании работ соединения тщательно проверяют на герметичность.
Изделие имеет два уровня управления: пользователя и специалиста. Первый отображает основную информацию и дает возможность настраивать основные параметры системы с помощью клавиш и регуляторов. Второй используется для ремонта и технического обслуживания и защищен специальным кодом.
Возможные неисправности
Существует две группы проблем, возникающих при использовании газовых приборов отопления Вайлант. В первом случае котел полностью не работает, во втором — частично. Возможные причины неисправностей и меры по их устранению представлены в таблице.

В ситуации, когда система включена, дисплей может выдавать сообщения об ошибках. Что означают типичные коды неисправностей, их причины и методы устранения можно посмотреть в таблице.

Котёл вайлант просто не включается
Если дисплей котла не горит, при этом Вы точно уверены, что он надежно подключен к электросети, то вероятнее всего произошла поломка платы. К сожалению, программой самодиагностики не фиксируются внутренние ошибки работы платы и в случае повреждения котел просто потухнет. Достаточно часто эти повреждения можно увидеть визуально при осмотре платы.
У нас есть все необходимое для восстановления плат котлов серии TEC и MAX. Вот пример ремонта одного подобного случая (на плате сгорел модуль питания):

Ремонт был осуществлен в течение дня и плата передана довольному клиенту.
Vaillant – это качественная и надежная техника, но поломки электроники все равно иногда случаются. Плата котла – один из самых дорогостоящих его элементов, поэтому обращаясь к нам клиенты экономят внушительную сумму денег
Мы занимаемся ремонтом уже давно и все запасные части всегда есть в наличии, а ремонт занимает минимум времени, что особенно важно когда поломка произошла в отопительный период
Если Вы — обладатель газового котла Вайлант, не ждите, пока что-то сломается, чтобы изучить коды ошибок. Кто предупреждён, тот вооружён.
Ведь газовый котёл – техника сложная, от грамотных действий, в случае ЧП, будет зависеть, как в дальнейшем будет работать котёл Вайлант.
Неисправности чаще всего требуют профессионального подхода, но что-то можно сделать и самостоятельно.
Каждый котёл Вайлант имеет систему диагностики, входящую в состав электронного блока. Информация о состоянии агрегата выводится на ЖК-дисплей в виде кода (в т. ч. и о прошлых ошибках).
До прихода специалиста можно своими силами оценить работоспособность прибора:
- Все подводящие и отводящие соединения проверить на герметичность (сюда включаются отводы угарного газа, конденсата и ГВС).
- Проверить: нет ли загрязнений в камере пониженного давления.
- Проверить всю электрическую подводку: плотно ли сидят разъёмы и штекера.
- Отвод конденсата и сифон проверить на наличие солевых и известняковых отложений. В случае необходимости — очистить.
Осмотрите газовую горелку – она чаще всего забивается нагаром. Очищать так же нужно внутренние стенки рабочих камер и дымоходов. В газовом оборудовании копоти бывает не очень много, так что больших трудностей у пользователя не будет.
Наиболее частые коды ошибок газовых котлов Вайлант
Большинство ошибок котлов Vaillant спровоцированы проведением работ по некачественно выполненному монтажу и дальнейшему настраиванию котла. Для настройки горелки и газового клапана на котле Vaillant необходимо использование газоанализатора. Но не все мастера выполняют это правило.
Настройка оборудования подробно описана в сопроводительных документах.
Газовый котел Вайлант ошибка f28, что делать и как устранить
Причин возникновения ошибки F28 в газовом котле Vaillant много. Если следовать официальным рекомендациям, то при возникновении такой ошибки рекомендуется вызвать мастера. Но иногда можно попробовать устранить ошибку своими силами. Ошибка появляется в следствии нескольких неудачных попыток запуска горелки.
Причины могут следующие: газ не доходит до газового котла, давление в газовой магистрали ниже допустимого значения, возникли проблемы с питающим напряжением, может потребоваться ремонт газового клапана.
Возникает резонный вопрос, как исправить ситуацию. Первым делом следует нажать на кнопку сброса. В зависимости от моделей она может обозначаться как перечеркнутый символ пламени или присутствовать надпись Reset. Если ошибка возникла из-за сбоя в электрической сети, то сброс параметров восстановит рабочее состояние.
После этого необходимо проверить давление газа в магистрали. Для этого можно воспользоваться кухонной плитой. Необходимо разжечь все имеющиеся конфорки и включить на максимальный режим. Если горят стабильно и с характерным оттенком, то, скорее всего давление газа в норме. Если в газе слишком много воздуха, то горение будет неровным.
Ошибка f75 в котле Вайлант, как устранить
Во всех моделях Вайлант присутствует датчик давления, отвечающий за регистрацию изменений. По норме должно произойти поднятие давления до 50 мбар за 20 секунд. Отсутствие таких показателей расценивается как неправильное функционирование циркулярного насоса. Для предотвращения перегрева оборудования происходит автоматическая блокировка и на экране отображается ошибка F75 в газовом котле Vaillant.
Еще одна причина — присутствие воздуха. Можно попробовать устранить неполадку перезапустив оборудования. Потребуется провести обслуживание, и проконтролировать давление.
Если указанные варианты не принесли должного результата, то придется снять насос и обследовать на присутствие отложений, грязи или износ. При присутствии износа может потребоваться замена насоса.
Ошибка f36, что означает и как ее устранить
Отображение ошибки F36 означает, что присутствуют проблемы в тяге. Причиной может быть как полное отсутствие, так и ее падение. Датчик фиксирует изменения и отправляет команду на остановку оборудования.
Если перезапуск не помог, то потребуется проверить дымоход. Проверьте, не появилось ли обледенение канала, прочистите решетку фильтра, избавьтесь от мусора, если он присутствует. Советуем проверить конструкцию на герметичность. Ненадежные стыки могут стать причиной ухудшения тяги.
Ошибка f29, как ее устранить
Если произошло затухание горелки и после нескольких попыток не получилось разжечь горелку, то на дисплее отобразиться ошибка F29. Необходимо попробовать перезапустить котел. Затем следует проверить поступление в оборудование газа. Если с давлением в норме, то следует проверить заземление.
Также советуем проверить работу отсечного клапана. Он монтируется на внутреннем газопроводе и может блокироваться после сбоя напряжения. Необходимо активировать клапан, и возобновить поступление газа. После проведенных ошибка пропадает.
Ошибка f22
При отображении ошибки F22 можно с уверенностью сказать, что защитная блокировка произошла от нехватки теплоносителя. Среди вариантов можно назвать следующие: неисправность проводки насоса, блокировка непосредственно насоса, недостаточно мощности оборудования или нехватка теплоносителя.
Ошибка f20
Если котел диагностировал F20, то произошло срабатывание предохранительного температурного ограничителя. Было достигнуто максимальное значение, и оборудование включило блокировку.
Возможные неисправности, которые случаются не так часто
Если необходимый код ошибки отсутствует в данном списке, это значит, что с ней справится только мастер.
- F0, F Поломка случилась в датчике NTC, контролирующего температуру, на подающей линии (F0) или на обратной (F1). Необходимо проверить не только датчик, но и его кабель;
- F2, F3, F Произошел сбой в работе датчика NTC. Возможно, плохо вставлен штекер или же сломался сам датчик или кабель;
Как выглядит датчик NTC
- F5, F6 (Вайлант Atmo). Проблема с работой датчика, обеспечивающего безопасный вывод продуктов сгорания. Нужно проверить, правильно ли он подключен, либо сбой произошел из-за сломанного кабеля или самого датчика;
- F10, F Произошло короткое замыкание в датчике температуры в подающей линии (F10) или в обратной (F11). Проверить все, описанное выше;
- F13, F Температура в агрегате перевалила свыше 130 градусов, и произошло короткое замыкание в датчике горячего старта. Проверить все, описанное выше;
- F15, F16 (Вайлант Atmo). Произошло короткое замыкание в датчике, отвечающего за вывод продуктов сгорания. Проверить все, описанное выше;
- F Произошел перегрев котла;
- F Не хватает воды в устройстве, при этом температура между подающей и обратной линиями сильно отличается. Стоит проверить подключение датчиков на обеих линиях, работоспособность насоса и кабеля или платы;
- F Проблема похожа на предыдущую – недостаточно теплоносителя. Проверить всё то же, что и в п.8;
- F Аппарат аварийно отключился из-за чересчур высокой температуры отработанных газов. Необходимо проверить датчик NTC, кабели и штекеры;
- F Котел сообщает о наличии пламени, хотя вентиль закрыт. Причина может быть в неполадках с датчиком пламени или с магнитными клапанами;
- F32 (конденсационные котлы). Неисправности с частотой вращения вентилятора. Скорей всего, проблема в нем самом, но также нужно проверить плату, кабель и датчик;
- F33 (Vaillant turboTEC). Реле давления не замыкает контакт спустя полчаса после запроса на подачу тепла;
Газовый Котел Vaillant turboTEC
- F Понизилось напряжение на шине eBus. Возможно, в ней случилось короткое замыкание либо она сильно перегружена;
- F К клапанам не посылается управляющий сигнал. Нужно проверить клапаны, кабель и плату;
- F Сбой в задержке отключения вентиля. Проверить, не пропускает ли он газ и не засорились ли форсунки;
- F Перегрелся блок электроники. Причина либо извне, либо в неисправности блока;
- F Низкое давление воды. Либо проблема в самом датчике, либо в нем короткое замыкание;
- F Высокое давление воды. Причина изложена выше.
Видео на тему
Газовые автономные системы отопления являются наиболее распространенными и оптимальными с точки зрения эргономики на сегодняшний день. Но из-за не самых лучших условий эксплуатации они часто подвергаются различным поломкам независимо от страны-изготовителя и цены агрегата.
Например, котел Вайлант, неисправности которого зачастую связаны с плохой очисткой газа, может не прослужить даже одного сезона, хотя стоит больших денег. И вины изготовителей в этом нет, потому что оборудование рассчитывается на оптимальные условия и не всегда может эффективно бороться с возникающими по вине коммунальщиков проблемами.
Повторная поломка
Не долго музыка играла, мой любимый газовый котел Vaillant вновь вышел из строя. У меня сначала показалась ошибка f33 и вновь f28, что означает проблему с газовой горелкой. Поскольку дисплей Вайлант шалил, естественно, грешил на плату управления. Однако не следует спешить с выводами. Как в прошлый раз, действуем по четкому плану:
- Отключение оборудования.
- Снятие газового котла.
- Проведение диагностики.
- Разбор конструкции.
- Проверка элементов.
Поскольку ранее производил осмотр агрегата, решил проверить все основные узлы. Интересовало состояние крана, датчиков, насоса. Не было желания часто разбирать агрегат, поэтому задумался, как устранить все неисправности разом. В газовом котле Vaillant некоторые элементы скрыты, поэтому проблематично добраться до них, не повредив другой элемент.
Речь идет как раз-таки о плате управления. Находится она на в нижней части конструкции, и чтобы добраться, придется повозиться с болтиками, в моем случае все выглядит хлипко. Наконец котел Валиант открыт и можно осмотреться. Плата управления представляет собой обычный элемент, такой же, как и в компьютере. При разборе газового котла рекомендуется лишний раз не трогать пальцами контакты, соединительные элементы, поскольку на них остаются жирные пятна. Все это может повлиять на работу автоматики.

Устранение ошибки начинается с зачистки контактов. На плате управления, как известно, находятся дорожки, и они отлично чистятся обычной канцелярской затирочкой. Что касается датчиков, я лишь убрал с них пыль. При осмотре заметил, что трёхходовой кран болтался и возможно в скором будущем мог выйти из строя. Данный элемент находится в верхней части конструкции, он отвечает за перекрытие газа.
В магазине подобрал аналогичный трёхходовой товар, самое интересное было с платой управления. Найти похожую вариацию проблематично, к счастью, на ней указан точный код товара, поэтому удалось заказать через интернет.
Ошибка F28 также может появится из-за неисправности редуктора. Элемент отвечает за давление газа и соединен с счетчиком. Когда у меня были подозрения на счёт редуктора, первоначально производил диагностику, необходимо проверить настройки. Первым делом перекрывается газовый кран
Необходимо обратить внимание на дисплей. Если код ошибки пропадает, значит, элемент надо заменить
Бывает, что с магнитом все в порядке, страдает трансформатор розжига
На нём часто скапливается нагар и газовый котёл отказывается работать. Проверить давление не так-то просто, поскольку требуется снять обшивку. Добравшись до распределительной коробки, перекрывается запорный кран. Внутри находится несколько уплотнительных винтов, которые фиксируются на газовой арматуре. Необходимо их лишь немного ослабить, конструкция не такая прочная, как может показаться на первый взгляд
Бывает, что с магнитом все в порядке, страдает трансформатор розжига. На нём часто скапливается нагар и газовый котёл отказывается работать. Проверить давление не так-то просто, поскольку требуется снять обшивку. Добравшись до распределительной коробки, перекрывается запорный кран. Внутри находится несколько уплотнительных винтов, которые фиксируются на газовой арматуре. Необходимо их лишь немного ослабить, конструкция не такая прочная, как может показаться на первый взгляд.
Для проверки давления применяется цифровой тонометр. В инструкции вы найдете точные показатели нормального давления в зависимости от модификации.
Что вызывает аварийную остановку
Дымоход
Засорение канала, блокировка – с этим часто связана ошибка f36 котла Вайлант. Лед на внутренних стенках и оголовке, слой пыли, мусор, паутина на решетке фильтра – тяга снижается, отопительный агрегат блокируется по сигналу аварии.
Неграмотный проект, нарушения правил монтажа. Производитель дает исчерпывающие рекомендации по обустройству дымохода для котла Вайлант: сечение трубы, длина трассы и вертикального участка, возвышение над кровлей, уклон и ряд иных. Несоответствие одного из параметров негативно отражается на тяге, инициирует блокировку работы агрегата с ошибкой f36. В процессе эксплуатации просчеты проявляются при смене направления ветра, сильных порывах (опрокидывание тяги – котел «задувает»), осадках (жидкость переливается из системы водостока в трубу дымохода).
В канале не установлен конденсатосборник или неправильно выбрано место для накопителя.
Вытяжка рассчитывается исходя из характеристик отопительного агрегата, мощности. Собственники, подключающие с целью экономии Вайлант к дымоходу, ранее смонтированному для другого котла, часто сталкиваются с ошибкой f36. О возможных неполадках предупреждает и производитель – только воздухопровод/газоотвод торговой марки Vaillant (инструкция, раздел 5.5).
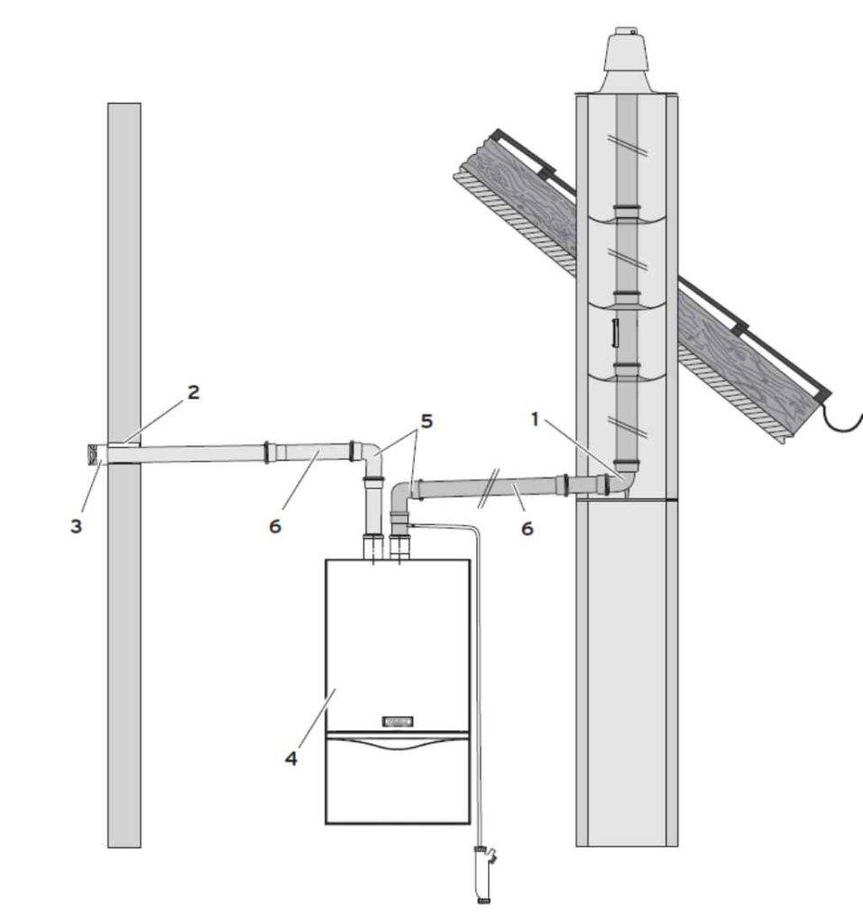
Подача дутьевого воздуха к котлу vaillant через наружную стену
Нарушение герметичности. Ненадежные стыки колен, подсос воздуха ухудшают тягу.
Повреждение (отсутствие) термоизоляции. Падение температуры снижает скорость протока летучих продуктов горения по каналу – причина ошибки f36. Убирается утеплением дымохода.
Советы
В интернете много рекомендаций по решению проблемы с кодом 36 котла Вайлант. Одни полезные, а некоторые попросту вредные. Кое-кто из «знатоков» подсказывает, как убрать ошибку f36: заменить термодатчик с пределом срабатывания t = 65 С аналогичным прибором, рассчитанным на 95 (значения температуры указывается на корпусе). Непрофессиональное вмешательство в конструкцию котла Вайлант запрещено! Речь идет об отведении из помещения угарного газа. К чему приводит его накопление в комнате из-за задержки срабатывания термостата, объяснять не нужно.
Снижение тяги атмосферного котла вызывается работающим поблизости от него вытяжным устройством. Технические средства этой категории использовать рядом с агрегатами серии Atmo запрещается.
Нарушение рекомендаций по монтажу агрегата
В инструкции изложены требования к помещению и креплению Вайлант. Непрофессиональная установка котла вызывает ошибку f36.
Причины
Несоответствие габаритов комнаты мощности Vaillant.
Повышенная температура в помещении.
Недостаточная естественная вентиляция. Убедиться несложно распахиванием оконных, дверных створок. Дополнительный приток воздуха уберет ошибку f36.
Неправильный выбор места. Малый интервал между котлом Вайлант и поверхностями (стенами, полом, потолком), бытовыми приборами, выделяющими тепловую энергию (газовая плита) приводит к перегреву конструктивных элементов. Минимальные расстояния указаны в руководстве. Если не выдержаны, создаются условия для срабатывания термодатчика, высвечивается ошибка f36.
Загрязнение теплообменника
Слой пыли на корпусе прибора, в межреберном пространстве препятствует поступлению воздуха в котел Вайлант из комнаты. Падает тяга, аварийная остановка с ошибкой f36. Убирается чисткой камеры сгорания и поверхности теплообменника.
Снижение скорости циркуляции
Проблема с датчиком
О неисправности прибора (AtmoGuard) информируют другие ошибки, но «поведение» электроники непредсказуемо: всякое бывает. Код 36 вызывается поломкой или неверным срабатыванием датчика тяги. В котлах Вайлант система контроля дымохода устроена «хитро». Отличие от отопительных установок других производителей в том, что за отводом летучих продуктов горения следят 2 сенсора. Их выверенное расположение в канале гарантирует быструю реакцию на малейшее изменение потока.
Датчик тяги котла Vaillant
Одна часть датчика (сенсор) контролирует отходящие в дымоход газы, другая (внешняя) – проникновение их в комнату. Если такое наблюдается, электроника через две минуты отключает подачу «голубого топлива» к горелке. Спустя 15–20 мин (когда сенсор остынет) котел Вайлант автоматически вступает в работу. Блокировка отопительного агрегата с выдачей ошибки f36 происходит при условии, что такая ситуация повторяется еще 2 раза.
В инструкции нет рекомендации по «глубокому» тестированию датчика. Описана лишь методика проверки на срабатывание: перекрыть дымоход, пустить котел Вайлант. Далее наблюдать за действиями электроники: аварийное отключение (2 мин), повторный розжиг (15–20).
Расшифровка
Ошибка f37 информирует о некорректной работе вентилятора котла Вайлант с наддувом: частота вращения вала выше или меньше требуемой. Данная неполадка – свидетельство проблемы с тягой.
Скорость протока летучих продуктов горения по дымоходу контролируется маностатом, и при высвечивании кода 37 в процессе поиска причины ограничиваться тестированием турбины неправильно – реле давления входит в число «подозреваемых». Понимая смысл проблемы, несложно определить порядок действий по поиску неполадки.
С чего начать
Перезапустить котел Вайлант (выполнить сброс). В зависимости от типа Vaillant нажимается кнопка Reset, «Вкл» или «Сеть». Если ошибка f37 ложная, вызвана сбоем в сети питания, уберется.
Кнопка для сброса ошибки F37 для котлов atmoTEC pro, turboTEC pro
Стабильность работы Вайлант достигается включением отопительного агрегата через ИБП. Блок обеспечивает автономное безаварийное функционирование котла даже при обесточивании объекта за счет емкости батарей (внешних присоединенных или встроенных).
Схема подключения резервного питания к котлу Вайлант
Проверить значение ~Uc. При центральном энергоснабжении несоответствие несложно определить по яркости лампочек освещения. Повышение/снижение величины напряжения при использовании автономного генератора связано с нарушениями в его работе: отрегулировать.
Убедиться в целостности заземления. Сбои электроники отопительного агрегата инициируются наводками, блуждающими токами. Для проверки понадобится индикаторная отвертка. Наличие потенциала на металлической части котла Вайлант – причина ошибки f37.
Проблема с наводками, их влиянием на функционирование Vaillant решается установкой на газовую трубу разделительной (диэлектрической) муфты.
Подключение диалектической муфты



































